Размер шрифта
Новости Спорт
Выйти
Война США и Израиля против ИранаПереговоры о мире на Украине
Автомобили

Вторая модель Volga сертифицирована в России

В России сертифицирован седан Volga C50

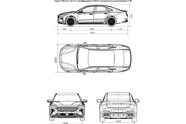
В России сертифицирована вторая модель возрожденного бренда Volga — седан Volga C50. На автомобиль оформлено Одобрение типа транспортного средства (ОТТС) — основной сертификационный документ, позволяющий начать массовое производство и официальные продажи. С документом ознакомилась «Газета.Ru».

Согласно ОТТС, производителем Volga C50 значится компания «Нижегородские легковые автомобили». Длина седана — 4825 мм, ширина — 1880 мм, высота — 1469 мм, колесная база — 2800 мм. По габаритам автомобиль полностью совпадает с седаном Geely Preface.

Для Volga C50 предусмотрен 2,0-литровый бензиновый двигатель в двух вариантах мощности — 150 л.с. и 200 л.с. Трансмиссия — роботизированная семиступенчатая. Автомобиль может оснащаться 17-дюймовыми и 18-дюймовыми колесами. Ему полагается ABS и система стабилизации, система помощи при экстренном торможении. На всех колесах — дисковые тормоза.

До этого стало известно, какой автомобиль станет кроссовером Volga.

Ранее в России предложили создать единую базу запчастей китайских автомобилей.

 
С 1 апреля россиянам пересчитают пенсии и обновят регламенты ЖКХ. Кому положена прибавка и как не переплатить по счетчикам
На сайте используются cookies. Продолжая использовать сайт, вы принимаете условия
Ok
1 Подписывайтесь на Газету.Ru в MAX Все ключевые события — в нашем канале. Подписывайтесь!